國內AAV基因治療競爭格局
發布時間:2023-04-14來源:點擊:1580
以下文章轉于:chaselection 逐典
近年來,核酸藥物取得了突飛猛進的發展,包括反義寡核苷酸(ASO)、siRNA、mRNA以及AAV等,這些新的藥物形式為許多難治性疾病帶來了全新的工具選擇。本文主要梳理AAV基因治療的競爭格局。

全球范圍內,累計有3款AAV基因療法獲批上市,2012年歐盟批準的Glybera(未獲FDA批準),2017年FDA批準Luxturna,但這兩款藥物市場層面都不算成功。諾華的Zolgensma于2019年獲得批準,獲得了巨大的商業成功,2021年銷售額13.51億美元,今年上半年銷售額7.42億美元。

國內方面,已經累計申報13款AAV基因療法,其中2021年3款,2022年10款,呈快速增長的趨勢。

1.紐福斯:聚焦眼病
紐福斯成立于2016年,創始人為李斌教授。紐福斯聚焦于眼病治療領域,而不局限于AAV療法。2022年6月,紐福斯與艾博生物達成合作,開發治療眼病的mRNA療法。

紐福斯首發管線為NR082,以rAAV2作為載體,將正確的ND4基因通過玻璃體腔注射遞送至患者受損的視神經節細胞,修復線粒體生物呼吸鏈,使視神經節細胞恢復活力與視功能。

紐福斯生物于2011年在啟動試驗性NR082基因治療的IIT臨床試驗。在參與試驗的9例ND4位點突變LHON患者中,7例者的視力得到明顯改善,最佳視力恢復到0.8,9名患者平均最佳矯正視力提高0.39logMAR(即接近字母表四行的提高)。8名患者完成了近8年的長期隨訪,無嚴重不良反應事件。2021年1月,紐福斯遞交NR082的IND申請,成為國內首款申報臨床的AAV基因療法。

2.信念醫藥
信念醫藥成立于2019年,創始人為北卡大學的肖嘯教授,也是基因治療領域權威專家。信念醫藥已經建立了豐富了研發管線,包括針對血友病、帕金森、眼病等多種適應癥的基因療法。

信念醫藥首發管線BBM-H901的適應癥為B型血友病,上個月獲得國家藥監局的突破療法認證。

3.錦藍基因
錦藍基因成立于2018年,核心技術團隊作為國內最早進入基因治療及其核心技術“病毒載體系統”領域的國家隊原班人馬,出自侯云德院士領導的病毒基因工程國家實驗室病毒載體課題組。創始人吳小兵教授為國內第一個申請臨床的AAV基因治療藥品的首席科學家。

錦藍基因已經申報3款AAV基因療法,分別為治療LPLD的GC304、治療SMA的GC101和治療龐貝氏病的GC301。

4.朗信生物
朗信生物成立于2020年,聚焦于眼病AAV基因療法,創始人兼CEO汪楓華為上海市眼科工程技術研究中心主任,聯合創始人兼CTO張瑰宜此前為Regenxbio的工藝開發總監。朗信生物的首發管線LX-101為AAV2搭載RPE65基因,用于治療LCA。

圖片來源于網絡
5.天澤云泰
天澤云泰成立于2020年,創始人為趙小平(原益諾思(海門)生物總經理)和李偉(中科院動物所研究員)。天澤云泰已經申報2款AAV基因療法,分別為治療B型血友病的VGB-R04、治療結晶樣視網膜色素變性的VGR-R01。

6.嘉因生物
杭州嘉因生物成立于2019年,首發管線EXG001-307最近剛剛獲批臨床,為國內首款治療SMA的AAV基因療法。

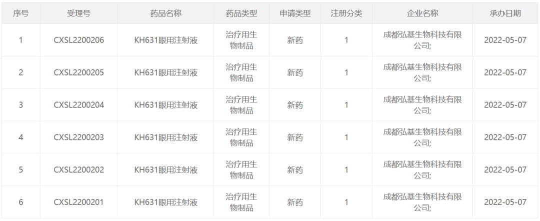
7.康弘藥業
康弘藥業申報的KH631為表達VEGF的眼病AAV基因療法,即表達康柏西普的AAV療法。

國外類似的有表達阿柏西普的ADVM-022和表達VEGF抗體的RGX-314。


8.至善唯新
至善唯新成立于2017年,創始人為四川大學華西醫院生物治療國家重點實驗室董飚教授。前不久,君實生物入股至善唯新。至善唯新的首發管線ZS801為治療B型血友病的AAV基因療法。

9.芳拓生物
芳拓生物成立于2019年,創始人團隊如下。

芳拓生物首發管線FT-001是一款針對RPE65基因變異導致的遺傳性視網膜病的AAV基因療法,已經獲得FDA的臨床許可,以及NMPA的受理。

10.中因科技
中因科技有限公司是一家專業從事遺傳性眼病臨床基因診斷、預防和基因治療藥物研發的企業。首發管線ZVS101e主要是使用rAAV病毒將正常的CYP4V2基因拷貝攜帶到患者視網膜細胞中,治療結晶樣視網膜變性。

11.北海康成
作為一家聚焦罕見病的上市公司,北海康成也在開發多款AAV基因療法。

除上述公司外,AAV領域的藥企或CDMO公司還有鼎新基因、諾潔貝、安龍生物、貝思奧、康璟生物、神拓生物、領諾醫藥、目鏡生物、五加和、九天生物、瑋美基因、神濟昌華、凌意生物、華毅樂健、星眸生物、惟佑基因等。
總結
2021年可以視作國內AAV基因治療的元年,一方面,首批AAV基因療法開始申報臨床;另一方面,大量AAV基因療法初創公司完成了高額融資,整個領域開始進入快速發展的軌道。

來源:BIG生物創新社


